
作为上汽集团自主品牌的重要组成东莞股票配资,MG名爵(下简称MG)前些年在国内市场不论是销量还是声量都曾红极一时,但是随着时间的推移, MG品牌也将海外市场作为重心,但是随着环境的变化,眼下MG似乎正同样要在国内找回节奏。
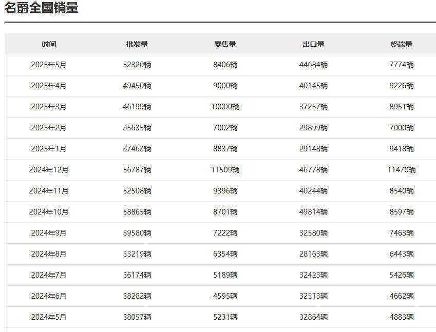
以5月份销量为例,MG批发量达到了5.2万余辆,看上去是不是非常给力?但再看一下详情就会发现,这5.2万台批发量中出口达到了4.4万余辆,国内零售量则仅有0.8万辆,这意味着其国内零售量占到总销量的百分比仅有不到20%。
之所以产生这种情况,主要和上汽集团的战略重心有关。MG品牌本身诞生于英国,在海外尤其是欧洲拥有深厚的赛道基因和文化积淀,虽然被上汽收购,但是“百年品牌”故事仍在,上汽集团将MG作为出海的主力品牌,既拥有相对成熟的渠道,也拥有较低的宣发成本。而且诸如MG4 EV等车型,在海外售价也较为低廉,因而销量更易走俏。
而反观MG在国内市场则缺乏情感共鸣,虽然其品牌也拥有英伦底蕴,但是国内消费者认可度并不高,尤其是和眼下年轻人更看重科技,追求性价比的需求脱节。同时,品牌在“运动”与“家用”间摇摆,既未形成性能标签,也未在智能化、空间等家用属性上突出优势,导致存在感薄弱。
对上汽而言,按目前的销量表现来看,荣威主攻国内,而MG主攻海外,这也使得MG在车型换代及营销上都相对滞后,其背后的操盘手也在近年陷入动荡。
2024年12月原上汽通用五菱高管周钘接替陆家俊履新上汽MG总经理一职,并且到岗后就高调宣布,MG“2025年销量翻番!”彼时周钘也被誉为上汽集团最年轻的品牌掌门人,并且还表态称,“中国汽车市场大决战前夜,MG力争2025年底月销突破3万台,全年销量目标18万台。”虽然在上任初期,周钘的口号喊得震天响,但实际看MG 2025年国内的销量表现,其实并不如人意。
数据显示,MG品牌国内1-5月累计销量约在4.3万台上下,这样的成绩和彼时所谓的18万台销量目标相比,达成率尚不足25%。
而进入6月份,周钘仅操盘半年左右就“败走”MG,最新消息显示其已在领克履新,而其继任者则为上汽集团的内生人才,原上汽大众品牌ID营销高级总监陈萃。
就目前来看,陈萃同样是一位年轻的少帅,坊间认为,在上汽大众新能源的营销背景,或许会让陈萃在激活MG方面贡献活力。而在近日举办的MG Holiday夏日新车发布会上陈萃也首次公开亮相,同时MG宣告了All in新能源战略,并发布三款重磅车型——Cyberster 2026款、MG5 2026款及全新MG4。
不过也应看到,上汽大众ID目前在国内市场表现并不算出色,尽管眼下MG宣告了All in新能源战略,但MG要想成功,面对激烈的国内市场竞争,不仅要补齐电动化、智能化短板,而且要在品牌上重获市场尤其是年轻人认可,并且在渠道上打开局面。
写在最后:
总的来看,目前MG面临的压力还是很大的,虽然其海外市场销量火爆,但是国内市场却面临和需求脱节,销量和品牌知名度同样仍待提升的尴尬,短期看海外的销量火爆对其国内利润能够起到反哺作用,但若是无法从根本上和目前主流新能源车看齐,即使是陈萃恐怕也难以带领MG复苏。
(本文由【车界】新媒体编辑部原创出品,本文所涉及销量数据来源于乘联会或第三方平台发布的行业综合销量数据,部分图片来源于网络,标注来源的数据及相关资料均为引用东莞股票配资,具体请以官方信息为准。本文作者蓝湛,个人观点仅供参考。)
日升策略提示:文章来自网络,不代表本站观点。